Fax電話 Fax機能切る

ファクスの受信ができない場合の対処方法

複合機 Fax に内線を割り当てるメリット デメリット 発信する流れ お役立ち情報 Office110

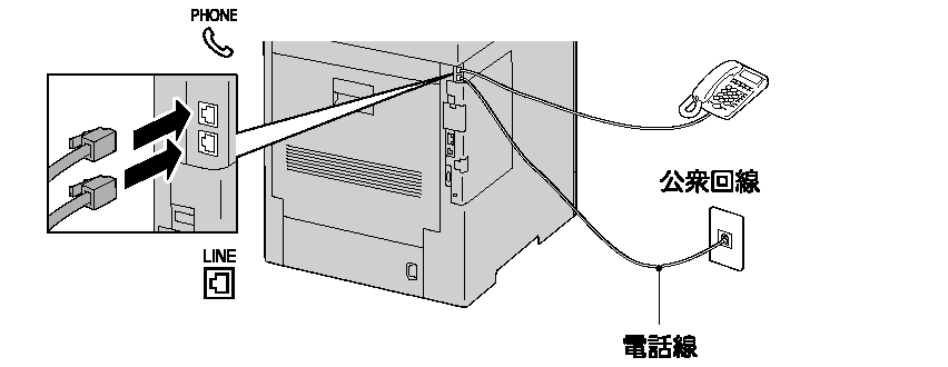
ファクス機能電話回線接続イメージ ビジネスプリンター 製品情報 エプソン

2021年版 電話機のおすすめ20選 防犯にも優れた人気機種を比較

2021年 Fax付き電話機のおすすめ人気ランキング10選 Mybest
製品案内 テルボーズ Take3 Bright Nd
パナソニック ファックスのみ Fax電話機 Kx Pd215 または Kx Pz210 留守電機能あり 迷惑電話

Ascii Jp 怪しい番号の電話を自動拒否 シャープのファクスで振り込め詐欺を防止

即日出荷 送料無料 パナソニック Panasonic 500円offクーポン配布中 11 9 23 59まで Kx Pz510dw N Fax機 おたっくす 子機2台 普通紙 気質アップ Ihmc2021 Com

Apeosport Vii 5022

ファクス機能 ファクスを送受信する場合の回線種別を設定する方法
0 Response to "Fax電話 Fax機能切る"
Post a Comment